不銹鋼電動球閥產品概述
不銹鋼電動球閥是使用電能作為動力來接通電動執行機構驅動閥桿帶動球體轉動,從而實現對管道內介質的流通、切斷或改變物料流通的截面積,其閥體、球體、閥桿及金屬閥座等零部件均采用不銹鋼材質制作,因此,特適用于介質溫度為-196℃~-40℃的低溫工況及酸、堿、鹽等腐蝕性物料。該閥電動執行器按控制方式分為開關型和調節型,按工作環境有常規型和隔爆型兩種,其球體通過閥桿與電裝相連,電動執行器接入電源后,按照控制信號改變閥內球形體的位置,當球內的通孔與管線通道重合時,閥門處于開啟狀態,當球內的通孔與管線通道垂直時,閥門處于關閉狀態,當調節圓球孔道的開口程度,就能控制流體的流量。本產品便于實現遠距離集中控制,具有使用時間長、啟閉方便、無泄漏等特點。
不銹鋼電動球閥部件材料
| 序號 | 部件名稱 | 材料名稱 | ||||
| 1 | 閥 體 | A351 CF8 | A351 CF3 | A351 CF8M | A351 CF3M | A351 CF8C |
| 2 | 閥 體 蓋 | A351 CF8 | A351 CF3 | A351 CF8M | A351 CF3M | A351 CF8C |
| 3 | 閥 座 | R-PTFE、PTFE、TEFLON、NYLON、PPL、PEEK、DEVLON、SS+HF | ||||
| 4 | 球 體 | A182 F304 | A182 F304L | A182 F316 | A182 F316L | A182 F347 |
| 5 | 閥 桿 | A182 F304 | A182 F304L | A182 F316 | A182 F316L | A182 F347 |
| 6 | 止推軸承 | PTFE | PTFE | PTFE | PTFE | PTFE |
| 7 | 止推墊片 | VITON、PTFE、NYLON、METAL+GRAPHITE | ||||
| 8 | 填 料 | GRAPHITE | GRAPHITE | GRAPHITE | GRAPHITE | GRAPHITE |
| 9 | 填料壓蓋 | A351 CF8 | A351 CF8 | A351 CF8M | A351 CF8M | A351 CF8M |
不銹鋼電動球閥性能規范
| 公稱壓力Class | 150 | 300 | 600 | 900 | 1500 |
| 殼體試驗壓力(MPa) | 3.0 | 7.5 | 16.5 | 22.5 | 39.2 |
| 高壓密封試驗壓力(MPa) | 2.2 | 5.5 | 12.1 | 16.5 | 28.6 |
| 低壓密封試驗壓力(MPa) | 0.4~0.7 | 0.4~0.7 | 0.4~0.7 | 0.4~0.7 | 0.4~0.7 |
| 電源電壓 | 單相AC220V、三相AC380V、遠程DC24V (50Hz) | ||||
| 設計制造 | ASME B16.34-2013、API 608-2008、API 6D-2014 | ||||
| 結構長度 | ASME B16.10-2017、API 6D-2014 | ||||
| 連接法蘭 | ASME B16.5-2017、ASME B16.47-2017、ANSI B16.5-2013等 | ||||
| 檢驗試驗 | API 598-2016、API 6D-2014 | ||||
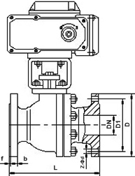
不銹鋼電動球閥主要尺寸
| 公稱壓力 Class | 公稱尺寸 NPS | 外形及連接尺寸/mm | |||||
| L | D | D1 | D2 | b-f | Z-?d | ||
| 150 | ? | 108 | 90 | 60.3 | 34.9 | 9.6-1.6 | 4-16 |
| ? | 117 | 100 | 69.9 | 42.9 | 11.2-1.6 | 4-16 | |
| 1 | 127 | 110 | 79.4 | 50.8 | 12.7-1.6 | 4-16 | |
| 1 ? | 140 | 115 | 88.9 | 63.5 | 14.3-1.6 | 4-16 | |
| 1 ? | 165 | 125 | 98.4 | 73.0 | 15.9-1.6 | 4-16 | |
| 2 | 178 | 150 | 120.7 | 92.1 | 17.5-1.6 | 4-19 | |
| 3 | 203 | 190 | 152.4 | 127.0 | 22.3-1.6 | 4-19 | |
| 4 | 229 | 230 | 190.5 | 157.2 | 22.3-1.6 | 8-19 | |
| 6 | 394 | 280 | 241.3 | 215.9 | 23.9-1.6 | 8-22.5 | |
| 8 | 457 | 345 | 298.5 | 269.9 | 27.0-1.6 | 8-22.5 | |
| 表中未列出的其他規格參數,請咨詢汗越閥門技術部! | |||||||
不銹鋼電動球閥結構圖

如果你需訂購我廠電動球閥產品,咨詢時煩請說明結構形式、公稱壓力、公稱通徑、閥體和內件材料、使用介質、工作溫度、端部連接方式等,本產品根據密封型式分為軟密封和金屬硬密封兩種,電動執行機構可選用精小型、部分回轉型、多回轉型等。


