基本型側流式T型過濾器產品概述
基本型側流式T型過濾器是一種適用于安裝空間受限制且介質流向有90°變化處,用以去除流體中含有的少量固體雜質的管道用三通過濾器,其制造、檢驗和驗收按GB/T 14382-2008執行,殼體采用鋼制對焊三通管件,壓力設計、尺寸、端部剖口等符合GB/T 12459-2017的規定,濾芯為圓臺型,絲網通常安裝在濾筒內,工作時,介質從三通的主管口進入,流經濾筒及濾網后,從支管口流出,其中的堵塞物被阻擋在濾網內。本產品的本體材質通常與相連的管道材料一致或相當,其中采用碳鋼與低合金鋼制造的,在對其表面作去污、除銹等處理后,涂防銹底漆1~2遍,再涂面漆兩遍,漆膜光滑平整,無流痕、鼓泡、皺紋和裂紋,而不銹鋼T型過濾器外表面則進行了酸洗鈍化或拋光處理,其Ra≤1.6μm。
基本型側流式T型過濾器部件材料
| 序號 | 部件名稱 | 材料名稱 | ||||
| 1 | 三 通 | 20# | S30408 | S30403 | S31608 | S31603 |
| 2 | 法 蘭 | A105 | S30408 | S30403 | S31608 | S31603 |
| 3 | 法 蘭 蓋 | Q235B | S30408 | S30403 | S31608 | S31603 |
| 4 | 支 撐 座 | Q235B | S30408 | S30403 | S31608 | S31603 |
| 5 | 密封墊片 | 聚四氟乙烯、金屬環形墊、金屬纏繞墊(帶內外環) | ||||
| 6 | 濾 網 | 304 | 304 | 304L | 316 | 316L |
| 7 | 排污螺塞 | 304 | 304 | 304L | 316 | 316L |
| 8 | 螺 柱 | 35CrMoA | 304 | 304 | 316 | 316 |
| 9 | 螺 母 | 30CrMo | 304 | 304 | 316 | 316 |
基本型側流式T型過濾器性能規范
| 公稱壓力PN(MPa) | 1.6 | 2.5 | 4.0 | 2.0 | 5.0 |
| 水壓強度試驗壓力(MPa) | 2.4 | 3.75 | 6.0 | 3.0 | 7.5 |
| 氣密性試驗壓力(MPa) | 1.6 | 2.5 | 4.0 | 2.0 | 5.0 |
| 設計制造 | GB/T 14382-2008 管道用三通過濾器 | ||||
| 對焊端部 | 符合GB/T 12459-2017或ASME B16.9-2018的規定 | ||||
| 檢驗試驗 | GB/T 14382-2008 管道用三通過濾器 | ||||
| 工作溫度 | -196℃ ~ 540℃ | ||||
| 濾網目數 | 2目 ~ 600目 | ||||
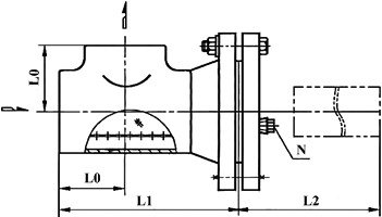
基本型側流式T型過濾器主要尺寸
| 公稱壓力 Class | 公稱尺寸 NPS | 安裝尺寸/mm | 過濾面積 cm2 | 排污口N 管螺紋 | ||
| L0 | L1 | L2 | ||||
| 150 (PN20) | 2 | 64 | 176 | 164 | 120 | R ? |
| 2 ? | 76 | 197 | 182 | 160 | R ? | |
| 3 | 86 | 222 | 207 | 220 | R ? | |
| 4 | 105 | 262 | 244 | 329 | R ? | |
| 5 | 124 | 303 | 283 | 486 | R ? | |
| 6 | 143 | 341 | 321 | 685 | R ? | |
| 8 | 178 | 418 | 396 | 1152 | R ? | |
| 10 | 216 | 502 | 480 | 1737 | R ? | |
| 12 | 254 | 586 | 561 | 2357 | R ? | |
| 14 | 279 | 640 | 615 | 3077 | R ? | |
| 16 | 305 | 695 | 670 | 3839 | R ? | |
| 表中未列出的其他規格參數,請咨詢汗越閥門技術部! | ||||||
基本型側流式T型過濾器結構圖



