什么是刮盤式自清洗過濾器?
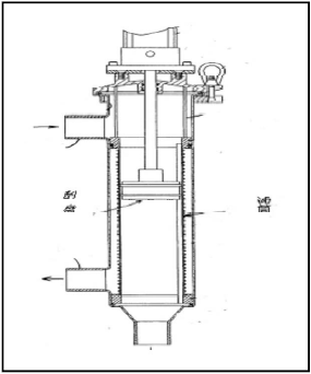
刮盤式自清洗過濾器主要包括殼體、污水進口、清水出口和濾筒等,所述污水進口和清水出口均安裝在所述殼體上,所述濾筒安裝在所述殼體內,其特征在于:還包括氣缸、供氣系統(tǒng)、清洗圓盤、集渣室、清洗閥門、壓差傳感器和電控器,所述氣缸安裝在所述殼體的頂部,所述清洗圓盤安裝在所述濾筒內并與所述濾筒的內壁緊密接觸,所述清洗圓盤的中部與所述氣缸的活塞桿連接,所述清洗圓盤上設置有上下相通的過水孔,所述集渣室位于所述濾筒的下方,所述清洗閥門設置于所述集渣室與所述濾筒之間;所述壓差傳感器安裝于所述濾筒的內外側,所述壓差傳感器的信號輸出端與所述電控器的壓差信號輸入端連接,所述電控器的氣缸控制信號輸出端與所述氣缸的控制信號輸入端連接,所述電控器的閥門控制信號輸出端與所述清洗閥 門的控制信號輸入端連接,所述氣缸的氣體輸入端與所述供氣系統(tǒng)的氣體輸出端連接。本實用新型通過壓差傳感器檢測濾筒內外側的壓力差信號,從而判斷濾筒是否堵塞,在濾筒堵塞時,電控器控制氣缸和清洗閥門動作,達到自動清洗目的。
刮盤式自清洗過濾器不僅可應用于低粘度的含固液體分離,還可以用于高粘度的含固液體分離。工作過程如下: 過濾:需過濾流體被壓入過濾器內腔,流體自內而外穿過濾芯,大于過濾元件縫隙的雜質被滯留在濾網的內表面,澄清流體穿過縫隙由出液口排出。自清洗:一個帶有彈簧的清洗圓盤,在濾芯內部上下運動來清除聚集在濾網內表面的濾渣。在清洗圓盤下行過程中,任何殘留的濾渣都被驅至集渣室,從而很容易被徹底清除。在清洗圓盤上行過程中,濾渣從濾網表面被去除。系統(tǒng)工藝流體(帶壓)驅濾渣穿過清洗圓盤至集渣室。圖4 為刮盤式自清洗過濾結構示意圖。

圖4 刮盤式自清洗過濾器結構示意圖

